В сегодняшнем мире мгновенного общения через смартфоны, электронную почту и социальные сети легко забыть, что не так давно азбука Морзе была жизненно важным средством связи на больших расстояниях. Азбука Морзе до сих пор остается увлекательным и надежным методом передачи сообщений с использованием простой системы точек и тире. В этой статье мы рассмотрим, что такое азбука Морзе, ее историю, как она работает и ее непреходящую актуальность.
Азбука Морзе — это система кодирования символов, в которой для обозначения букв, цифр и символов используется комбинация точек и тире. Он был разработан в начале 1830-х годов Сэмюэлем Морсом и Альфредом Вейлом как средство передачи сообщений на большие расстояния с помощью телеграфных систем. Код основан на простом принципе: каждой букве алфавита и каждой цифре присвоена уникальная комбинация коротких сигналов (точек) и длинных сигналов (тире). Эти точки и тире известны как «символы азбуки Морзе».
Основные символы азбуки Морзе включают в себя:
Точка (·): короткий сигнал, также известный как «дита».
Тире (-): длинный сигнал, также известный как «да».
Происхождение и История Азбуки Морзе:
Азбука Морзе была изобретена Сэмюэлем Морзе и Альфредом Вейлом в начале 1830-х годов как средство передачи сообщений по телеграфным проводам. Его простота и надежность сделали его популярным методом связи на большие расстояния в 19 и 20 веках. Телеграфисты выбивали сообщения с помощью телеграфных ключей, создавая уникальный слуховой язык, который стал синонимом современности.
На протяжении многих лет азбука Морзе играла решающую роль в различных исторических событиях, включая связь между кораблем и берегом, авиацию и военные действия. Сегодня, хотя ее в значительной степени заменили цифровые технологии, она остается важной резервной системой на случай чрезвычайных ситуаций.
Азбука Морзе
Азбука Морзе была изобретена вместе с телеграфными аппаратами в 1838 году. Их придумал и воплотил в жизнь американец Сэмюэл Финли Бриз Морзе, однако изначальная идея создания способа быстрой передачи сообщений зародилась у него еще за 13 лет до этого.

Сэмюэл Финли Бриз Морзе(1791г. — 1872г.)
Ранее Сэмюэл Морзе активно занимался живописью, создав за свою карьеру много известных картин(например портрет президента Мунро), за выставку своих работ даже был удостоен золотой медали, а также в 1826 году он основал в Нью-Йорке общество живописцев и стал его первым президентом, в 1829 это объединение было переименовано в Национальную академию дизайна.
Возможно Морзе бы и не стал создателем телеграфа, однако в 1825 году серьезно заболела его жена. Получив с задержкой известие об этом, художник поспешно отправился домой, но к моменту приезда она уже скончалась. Сообщения доходили до адресатов слишком долго, потому лично переживший печальный опыт Сэмюэл загорелся идеей создания устройства, которое позволило бы быстрее обмениваться сообщениями на большом расстоянии. В этом же году английский инженер Уильям Стеджер изготовил первый электромагнит в виде железного стержня с обмоткой из медной проволоки.
ЧТО ТАКОЕ АЗБУКА МОРЗЕ
Попытки передавать сообщения на короткие дистанции предпринимались еще с 1774 года, но больших успехов не было, так что Морзе можно считать первопроходцем в этой области. Вдохновившись идеей созданного недавно электромагнита, к нему пришла идея прототипа телеграфа: это был прибор, состоящий из рычага на пружине с карандашом на одном из концов. При подаче тока сторона с карандашом опускалась, грифель оставлял на бумаге линию. У самого Морзе не было технического образования, потому работа шла медленно. Другими значимыми фигурами в этой истории стали Альфред Вейл, друг Сэмюэля Морзе, вместе с которым они начали разрабатывать специальную кодировку, и отец Альфреда Стивен Вейл — предприниматель и промышленник, который увидел в идеях Морзе коммерческий потенциал, и потому вложился в них финансово.
Первое собранное устройство передавало максимум на 12 метров, но в 1837 году, благодаря новым электромагнитам, разработанным гениальным физиком Джозефом Генри, удалось передать сигнал на расстояние более 16 километров. И вот 8 февраля 1838 года во Франклинском институте Сэмюэл Морзе представил публике электромагнитный телеграф, передававший сообщения в кодировке из длинных и коротких комбинаций точек и тире. Этот код изначально учитывал наиболее часто используемые в английском языке буквы. Чем чаще используется буква, тем она короче, а ее структура проще.

Альфред Льюис Вейл(1807г. — 1859г.)

Джозеф Генри(1797г. — 1878г.)
24 мая 1844 года из Вашингтона в Балтимор с помощью телеграфа и азбуки Морзе было успешно передано первое официальное сообщение: «What hath God wrought!», отрывок библейского стиха, на русский он обычно переводится примерно как «Вот что творит бог!» или «Чудны дела твои, Господни!»
Хотя в некоторых источниках говорится, что еще 6 января 1838 года по проводам сталелитейного предприятия Спидвел(недалеко от Морристауна, Нью Джерси) на расстояние в 2 мили было успешно передано сообщение: «A patient waiter is no loser»(можно перевести как «Терпеливо ждущий — это не проигравший»).

Первый вариант кода отличался от современного: помимо «точки» и «тире» он содержал в себе паузы разной длинны внутри символов, «длинные тире»(в 4 раза длиннее точки), цифра «0» представляла из себя одну гигантскую тире(в 10 раз длиннее точки), а также изначально не предусматривалась передача букв отсутствующих в английском алфавите.
В 1848 году кодировку усовершенствовал немец Фридрих Герке. Именно эта версия кода в будущем будет принята ITU(Международный союз электросвязи) как Международная азбука Морзе, которая используется по сей день. Первоначальный код Морзе стали именовать американским.

Фридрих Клеменс Герке(1801г. — 1888г.)
В современном международном коде Морзе за единицу времени принимается длительность точки(самый короткий сигнал), длительность тире — 3 точки, пауза между элементами одного символа — 1 точка, между знаками в слове — 3 точки, между словами — 7 точек.
Долгое время параллельно друг другу существовали и другие версии кода, которые использовали другие страны, поскольку телеграфные линии тогда были проводными и это не вызывало особых неудобств. Например русский вариант был принят в 1856г.: для русских букв были использованы коды похожих латинских, например О(—) и O(—) или Л(.-..) и L(.-..). В 1930-х годах в силу бурного развития беспроводной радиосвязи международный код Морзе вытеснил остальные.
Плюсы и минусы
Основными минусами «морзянки» являются неэкономичность по времени и низкая скорость телеграфирования: для передачи одного знака затрачивается время, а между знаками в слове и словами паузы прямо пропорциональные длине тире и точек. Также она неудобна тем, что у разных символов разная длина, то есть одинаковое количество разных букв будет передаваться с разной скоростью, из-за чего количество слов в минуту становится понятием приблизительным. Еще до того как слуховой прием стал основным для телеграфных аппаратов были придуманы иные методы шифрования, которые были сложнее, но передавались значительно быстрее.
В свою очередь главными достоинствами азбуки Морзе являются ее надежность и простота, благодаря которой человек может самостоятельно проводить кодирование и декодирование без использования терминальных приспособлений и принимать сигнал с помощью простейших устройств, а также крайне высокая устойчивость, позволяющая проводить связь даже в условиях довольно сильных радиопомех.
Слуховой прием
С прогрессом в области радиосвязи, код Морзе практически сразу начали пробовать применять как сигнал, который можно принимать с помощью слуховых способностей оператора. Изначально первые приемные устройства пытались изготовить на основе электромагнитного реле и звонка по типу проводных телеграфных аппаратов, но порог срабатывания любых реле был слишком высок для регистрации очень слабых сигналов исходящих от антенны. В 1899 году на форте Милютин во время наладки радиосвязи П. Н. Рыбкин, помощник А. С. Попова, случайно обнаружил возможность приема сигнала телеграфа на слух при помощи обычных стереофонических наушников. Оказалось, что это возможно благодаря неизвестным ранее свойствам детектора электромагнитных колебаний — когерера. Вскоре новый телефонный приемник на основе открытия Рыбкина был запатентован Поповым, а еще чуть позже слуховой прием азбуки Морзе стал основным.

А. С. Попов(1859г. — 1905г.)

П. Н. Рыбкин(1865г. — 1948г.)

Альтернативой напевам является метод запоминания «мелодии» символа: некоторые источники заявляют, что он позволяет принимать с большей скоростью, поскольку с напевами мозг должен выполнять двойную работу: ставить в соответствии с сигналом напев, а затем переводить его в соответствующий знак. Правда это или ложь — неизвестно, однако стоит подчеркнуть, что оба подхода имеют место быть.
Передавать и принимать код Морзе можно с разной скоростью, это зависит от уровня умений и возможностей радиста. По мере обучения появляется ассоциативная связь звучания со знаком, к которому оно относится; благодаря этому относительно легко научится посылать и принимать сообщения с темпом 50-100 знаков в минуту.
Обычно принимаемый сигнал записывается; можно попробовать и на слух, но это намного сложнее и требует огромного опыта, а при приеме очень длинных сообщений становится в принципе невозможно. При высоких скоростях человек банально не успевает записывать обычным способом, потому применяются методы сокращенной записи, стенография либо, если вы не обладаете навыком скоростного письма, печать с помощью клавиатуры. Опытные радисты используют способ записи с отставанием на несколько знаков, что делает прием радиограммы несколько спокойнее и надежнее, но он требует очень высокого уровня умений.

Сколько надо учить азбуку Морзе? В среднем, если заниматься 3-4 раза в неделю по 1.5 — 2 часа в день с перерывами каждые 30 минут, можно спокойно научиться работать со скоростью 40 — 60 знаков в минуту; в зависимости от человека это займет от 2 до 6 месяцев. Сначала лучше выучить символы(первыми буквы, потом цифры), затем научиться приему и наконец передаче с помощью ключа.
Передача и ключи
Передача кода Морзе производится при помощи телеграфных ключей той или иной конструкции, их можно разделить на вертикальные и электронные.
Вертикальный ключ — это классический телеграфный ключ Морзе, придуманный еще вместе с телеграфом. Это простая конструкция состоящая из платформы, контакта и качающегося на пружине в вертикальной плоскости коромысла, которое при нажатии замыкает контакт.
Обычно скорость передачи с такими ключами не превышает 100 — 120 знаков в минуту.

В 1890 году Хоренс Г. Мартин изобрел полуавтоматический телеграфный ключ, который является предком современных электронных. Главным отличием этих ключей был маятниковый механизм: коромысло ключа двигалось в обе стороны по горизонтали, при нажимании влево оператор передавал тире, а при нажимании вправо включается маятниковый механизм, который формирует последовательность точек. Чуть позже появились модели автоматически образующие серию правильных тире длинной в 3 точки.
Также эти ключи в жаргоне прозвали «виброплекс» в честь первой компании производителя или «bug»(жук) из-за логотипа этой же компании.


Электронные ключи появились в 1940-1950 годах; они работают схожим с полуавтоматическими методом: есть 2 контакта, при замыкании первого передается последовательная серия точек, при замыкании второго — серия тире. Электронные ключи имеют гибкую настройку: с ее помощью можно легко регулировать темп передачи, соотношение длительности символов и соблюдение параметров с большой точностью. Некоторые современные ключи имеют функцию, которая позволяет при зажимании обоих контактов передавать последовательности «точка тире точка тире. » или «тире точка тире точка. ».

Многие современные трансиверы и передатчики уже имеют встроенные электронные ключи и им для работы нужен только специальный манипулятор.
Умение оператора работать с помощью классического телеграфного ключа считается базовым навыком, даже если на практике тот может никогда не использоваться.
Сокращения и аббревиатуры
Во все времена люди пытались оптимизировать сообщения так, чтобы их написание занимало меньше времени, но при этом не терялся изначальный смысл сообщения. С появлением телеграфа и кода Морзе сначала телеграфисты, а затем и радисты начали активно придумывать аббревиатуры для ускорения радиообмена. Очевидно, что «GE» (—. .) передается намного быстрее чем «good evening» (—. — — -.. . . -. -.… -. —.), также есть варианты «GM» — «good morning»(Доброе утро), «GA» — «good afternoon»(Добрый день), «GN» — «good night»(Доброй ночи). Так, в разных языках, иногда независимо друг от друга, сформировалось огромное количество жаргонизмов и аббревиатур по типу Q-кодов. Можно сразу вспомнить «ЗДР» — «Здравствуйте», «PSE» — «Please»(Пожалуйста), «R» — «Received»(Вас понял, принято). Также встречаются и цифровые коды, например «88» — «поцелуй» или «73» — «наилучшие пожелания».
Q-коды — это набор аббревиатур начинающихся с буквы «Q», стандартизированые ITU еще в 1912 году. Они обозначают наиболее часто употребляемые при радиообмене фразы, например «QRM» — «Ваша передача подвергается помехам». Один и тот же Q-код может быть со знаком вопроса и без, коды без знака вопроса это сообщающие, например «QRS» — «Передавайте медленнее», со знаком вопроса вопроса — вопросительные, например «QRS?» — «Должен ли я передавать медленнее?» В СССР назывались Щ-кодами, поскольку Щ — кириллический телеграфный аналог Q, а англицизмы в те времена принимать не очень любили.
Q-коды которые можно услышать на любительских диапазонах в современных условиях:
QSO: радиосвязь,
QRM: помехи от техногенного источника
QRN: помехи от естественного шума
QSB: затухание сигналов
QTH: мое местоположение
QRS: передавайте медленнее(QRQ – передавайте быстрее, на практике никогда не используется)
QRP: Низкая мощность(обычно 5 Вт CW или 10 Вт SSB PEP)
QRO: Высокая мощность
QRZ?: Меня кто-то вызывает?(Часто используется после того, как станция заканчивает свое QSO с кем-то)
QRL?: Эта частота занята?(Используется перед передачей CQ на выбранной частоте, чтобы убедиться, что она свободна)
QSY: Измените частоту
QSL: Карточка, для подтверждения проведенной связи(директ или через бюро, в наши дни большинство подтверждений делается электронным способом)
QRU: Мне больше нечего вам сказать, пора прощаться.
Интересная ситуация произошла с сигналом SOS: в 1905 году Германия приняла протокол для чрезвычайных ситуаций, согласно которому были введены 3 специальных сигнала, принципиально отличавшихся от прочих букв и символов кода Морзе. Эти сигналы не содержали букв и не имели межбуквенных интервалов, при этом содержа в себе большое количество знаков. Такая структура позволяла легко выделить сигнал, и даже если он принимался не с начала, при нескольких повторах он определялся безошибочно. Самым длинным был Notzeichen, состоявший из трех точек, трех тире, трех точек(. —. ). Узнаете? Это по сей день единственный сигнал с таким количеством символов. Из-за своей удобной для распознания структуры, симметричности и запоминаемости в 1906 году он был объявлен международным сигналом бедствия. Название «SOS» было придумано для запоминания вместе со словесно-смысловыми наименованиями по типу «save our souls», «save our ship», «swim or sing», «stop other signals», или «спасите от смерти». Хотя были и другие варианты буквенного обозначения по типу американского S5S(в американской азбуке Морзе цифра 5 обозначалась с помощью трех тире) или «ну прям очень удобного» EEETTTEEE.
Пример QSO на CW
Для этого примера у собеседника используется позывной R6DQM
*Вы вызываете*
— CQ CQ CQ DE *ваш позывной* *ваш позывной* PSE K
— *ваш позывной* DE R6DQM R6DQM RST 599 599 NAME DANIIL DANIIL QSL? K
— R R *ваш позывной* DE R6DQM TNX RST 599 599 NAME *скажите ваше имя дважды* QTH *скажите ваше местоположение дважды* QSL? K
— R R *имя которое вы сказали* TNX FOR QSO 73 73 BY K
Начинается все с общего вызова. «DE» значит «от/кто говорит», «K» — «конец передачи, переход на прием», а «PSE» т.е. — «пожалуйста». Иногда почему-то передается некоторыми людьми перед концом передачи;
— Вашему позывному отвечает R6DQM, рапорт 599(т.е. максимальная оценка слышимости по RST), имя Даниил. Как принято?
Вы получили ответ. Говорите что тоже отлично слышите, передали свое имя и где находитесь. «R» — «принято», «TNX» — «спасибо»;
— Принято, *вас поблагодарили за QSO, пожелали 73, попрощались*;
*Вы тоже пожелали 73, закончили связь, закончили передачу*.
Следует отметить, что в структуре QSO могут быть небольшие отличия, как та же «PSE» перед «K», а кто-то вместо позывного сначала передает «R» или «BK» в конце передачи.
Азбука Морзе
Все телеграфы используют так называемый телеграфный код — принятую условную систему обозначений, в которой каждой букве (или знаку) соответствует своя комбинация элементарных посылок электрического тока. Элементарная посылка (элемент кода) — наикратчайшая, из них составляются все остальные. Количество элементарных посылок для обозначения каждого знака в коде может быть различным (неравномерные коды, например, код Морзе) или одинаковым (равномерные коды, например, код Бодо). Число значений, которое может приобретать элементарная посылка в процессе передачи, называется основанием кода — по этому признаку коды делятся на бинарные (двоичные), троичные и какие-то ещё. В зависимости от числа элементарных посылок для передачи знаков различают равномерные коды 5-элементные, 6-элементные и так далее.

«Код Морзе» (он же «Морзянка») — ни что иное, как неравномерный телеграфный код, в котором знаки обозначаются комбинациями из посылок тока различной продолжительности. За единицу длительности принимается длительность точки, а длительность «тире» равняется длительности трёх точек. Пауза между знаками в букве — одна точка, а между буквами в слове — 3 точки. Пауза между словами составляет 7 точек. Все знаки в коде Морзе образуют так называемую азбуку Морзе:

Как это всё запомнить? Ну, как известно, Москва не сразу строилась… по буковке в день — и всё получится 🙂 К слову, на бескрайних просторах интернета полно радиолюбительских сайтов и форумов, на которых есть не только информация и дельные советы по запоминанию, но и всевозможные приложения (в том числе под Android/iOS) для тренировки.
Примечательно, что исходная таблица «кода Морзе» ощутимо отличалась от тех кодов, что сегодня звучат на любительских диапазонах. Во-первых, в ней использовались посылки трех разных длительностей (точка, тире и длинное тире). Во-вторых, некоторые символы внутри своих кодов имели паузы. Кодировки современной и исходной таблиц совпадают только для половины букв (A, B, D, E, G, H, I, K, M, N, S, T, U, V и W) и не совпадают ни для одной цифры. Более того, для построения кода некоторых символов в оригинальной «морзянке» вообще использовались иные принципы. Так, помимо «точек» и «тире», были сочетания «двойное тире» (буква L) и даже «тройное тире» (цифра 0), а некоторые символы включали в себя паузу. Латинская буква С, например, передавалась раньше как «две точки-пауза-точка», то есть как переданные последовательно буквы И и Е — подобные нюансы заметно осложняли приём радиограмм. В том числе по этой причине вскоре появились различные варианты телеграфной азбуки, не содержавшие кодов с паузами между посылками (Филлипса, Бална, «морской», «континентальный» и т.д.).

О телеграфах поговорим в следующей статьей
Современный вариант международного «кода Морзе» (International Morse) появился относительно недавно — в 1939 году, когда была проведена последняя корректировка (так называемого «континентального» варианта), коснувшаяся в основном знаков препинания. В современной телеграфии код Морзе применяется в основном радиолюбителями, так как был практически вытеснен равномерным телеграфным кодом буквопечатающими телеграфными аппаратами (о которых поговорим в следующей статье).

Сегодня пользователи, как сыр в масле: им не нужно ни телеграфов, ни магнитов, ни знания тайных языков и кодов. Вводишь текст, жмёшь кнопку «Отправить» и за мгновение он долетает до любой точки мира. Круто? Несомненно.
Остальные посты читайте на странице спец-проекта.
!important: Статья не претендует на полноту и достоверность всех данных.
Изучение азбуки Морзе
Один из способов самостоятельного изучения азбуки Морзе это с помощью компьютера. В Интернете можно найти много бесплатных программ. Например, CW Code Practice Utility под DOS, CW Master, G4ILO morse generator, GenTexts, SUPER MORSE, Super Morse for Windows, LZ1FW тренировщик кода Морзе, Morse Cat, АРАК, Morse trainer, Morser, APAK-CWL, CW Beeper, АДКМ и другие.
Когда телеграф уже освоен, для наращивания скорости написаны такие программы, как OXYGEN‘99, Ultra High Speed CW Trainer. Их можно свободно скачать из Интернета.
В приведенной ниже таблице указаны напевы для букв и цифр телеграфной азбуки, которые стоит запомнить. Каждый напев начинается на соответствующею буквы, слоги с гласными буквами «О» и «А» поются протяжно, обозначая длинную посылку (тире), а все остальные коротко (точки).
Знаки телеграфной азбуки для букв русского и латинского алфавитов, цифр, знаков препинания и служебных знаков приведены на рисунках 1-2. Коды знаков препинания, принятые в русском языке, которые отличаются от международных кодов, приведены на рисунке 3.
Разумеется, это только пример напевов. Вы можете использовать свои, только бы они вызывали у вас ассоциации с верными буквами. Можно записать пару аудиокассет с азбукой Морзе и прослушивать их дома самостоятельно. Конечно, в этом случае изучить телеграф будет сложнее, но при желании можно достичь всего.

Рис. 1. Знаки телеграфной азбуки для букв русского и латинского алфавитов, цифр, напевы.

Рис. 2. Знаки телеграфной азбуки для цифр, знаков препинания и служебных символов, напевы.

Рис. 3. Коды знаков препинания принятые в русском языке, отличаются от международных кодов.
Проще, объединившись с товарищем, изучить вдвоем слуховой прием и передачу ключом знаков телеграфной азбуки. Но это можно сделать и одному. При самостоятельном изучении телеграфной азбуки передача ключом и слуховой прием изучаются одновременно. Запоминаем музыкальный напев каждого знака.
После освоения знаков телеграфной азбуки проводится наращивание скорости приема и передачи. Что делается постепенно при систематических тренировках.
В эфире всегда работает много служебных и любительских радиостанций с медленной скоростью. Можно пробовать принимать из эфира отдельные буквы телеграфной передачи, хотя прием из эфира труднее, чем прием со звукового генератора или с использованием компьютерных программ.
Радиолюбителю коротковолновику необходимо знание не только русских, но латинских букв азбуки. Когда вы освоите азбуку Морзе, то, работая в эфире телеграфом, убедитесь, что это надежный и помехоустойчивый вид связи.
Если нет компьютера, то для изучения телеграфной азбуки нужно иметь телеграфный ключ, головной телефон и простой звуковой генератор.
Схема простого звукового генератора
Простую схему звукового генератора можно собрать всего на двух транзисторах показанную на рис. 4. Для удобства изготовления и повторения разработана печатная плата рис. 5. Размер печатной платы 32×28 мм. Подойдут любые германиевые или кремниевые транзисторы с n-p-n проводимостью.

Рис. 4. Схема генератора звуковой частоты для изучения телеграфа вариант 1.

Рис. 5. Вид печатной платы генератора звуковой частоты для изучения телеграфа вариант 1.
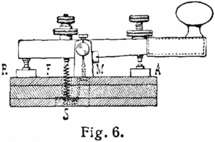
Схема приведена на рис. 6 имеет еще меньшее количество деталей.

Рис. 6. Схема генератора звуковой частоты для изучения телеграфа вариант 2.
Схему (рис. 4) на транзисторах с n-p-n проводимостью и схему (рис. 6) в дальнейшем можно использовать как тональный вызов или для самоконтроля телеграфа в трансивере.
Если в схеме (рис. 4) применить транзисторы с p-n-p проводимостью, то нужно поменять полярность источника питания. В этом варианте «плюс» источника питания будет соединен с эмиттерами транзисторов VT1, VТ2. Печатная плата остается той же.
Источник: Вербицкий Л.И., Вербицкий М.Л. — Настольная книга радиолюбителя-коротковолновика. (ur5lak.qrz.ru).
- Схема простого мультивибратора для мощной нагрузки (КТ972, КТ973)
- Что такое мультивибратор — основные понятия и пример схемы
- Программа для тренировки восприятия кода Морзе
- Схемы простых генераторов импульсов
Азбука Морзе

Телеграфная азбука или «морзянка» — плод изобретения Самюэля Морзе — используется в любительской радиосвязи и по сей день. Несмотря на появление компьютеров, и широкого распространения цифровых видов связи не только у профессионалов, но и у любителей, телеграф (или CW) остается одним из основных видов излучения.
Современные Лицензии на работу в эфире позволяют использовать некоторые любительские диапазоны и без знания телеграфа, однако могу авторитетно заявить, такие радиолюбители теряют значительную часть потрясающих ощущений, которые дарит нам мир Ham Radio. Как говорил известный полярник-радиолюбитель Эрнст Теодорович Кренкель (RAEM): Радиолюбитель не знающий телеграфа — радиоинвалид.
Поскольку наше хобби весьма многогранно, то среди радиолюбителей встечаются и убежденные телеграфисты (CW ONLY) и противники этого вида излучения. Я не хочу вам ничего навязывать, а просто предлагаю попробовать все же изучить телеграф, а затем уже решать: пользоваться вам им или нет, тем более,что минимальные требования по приему CW необходимы для получения радиолюбительской лицензии 1-3 категории.
В азбуке Морзе каждой букве соответствует комбинация из длинных посылок (тире) и коротких посылок (точек). За единицу длительности в телеграфной азбуке принимается длительность точки. Длительность тире равняется длительности трех точек. Пауза между знаками в букве — одна точка, а между буквами в слове 3 точки. Пауза между словами 7 точек.
Вся сложность изучения азбуки Морзе заключается в том, что недостаточно просто запомнить комбинацию точек и тире для каждой буквы. Даже наоборот, это очень вредно для последующего серьезного изучения CW. Поначалу, на малых скоростях, вам, возможно, удасться просчитать количество точек и тире, но при увеличении скорости вы наверняка собъетесь!
Для того чтобы серьезно изучить телеграф нужно запоминать не количество точек и тире в букве, а «напевы», которые получаются, когда звучит буква целиком. Таким образом, когда вы слышите напев «Фи-ли-мон-чик», то это значит была передана буква «F».
| A | А | N | Н |
| B | Б | O | О |
| C | Ц | P | П |
| D | Д | Q | Щ |
| E | Е | R | Р |
| F | Ф | S | С |
| G | Г | T | Т |
| H | Х | U | У |
| I | И | V | Ж |
| J | Й | W | В |
| K | К | X | Ь |
| L | Л | Y | Ы |
| M | М | Z | З |
| 1 | 6 |
| 2 | 7 |
| 3 | 8 |
| 4 | 9 |
| 5 | 0 |
| ? | Ч |
| / | Ш |
| || | Э |
| ! | Ю |
| , | Я |
Тире — точка — тире
Азбука Морзе — способ кодирования знаков (букв, цифр и специальных сигналов) при помощи комбинаций коротких и длинных сигналов (точек и тире). Азбука Морзе является неравномерным кодом, поскольку у разных букв алфавита длина кода изменяется от одного (E) до шести (для различных знаков препинания) символов (точек и тире). Длина кода обычно соответствует частоте использования буквы, поэтому на гласные в среднем приходится меньшее количество точек и тире. Фактически системе необходим третий сигнал — пауза для отделения букв друг от друга.
Несмотря на название азбуки, Морзе все же нельзя назвать её полноправным автором
В оригинальном патенте Морзе предложил неудобную и громоздкую систему, где, например, числу 1 соответствовала одна точка, а числу 9 — девять точек. Первую рабочую версию азбуки Морзе разработал его партнёр и коллега Альфред Вейл, американский бизнесмен и изобретатель. Впоследствии Вейл долго судился с Морзе, пытаясь добиться признания своей роли в разработке телеграфа Морзе.

В дальнейшем азбука Морзе многократно перерабатывалась и адаптировалась, становясь всё более удобной для приёма на слух и использования на радио. Появились ее национальные варианты. Русская версия азбуки Морзе была утверждена 21 июня 1856 года в табеле «Высочайше утвержденные телеграфическiе знаки Морзе для Латинской и Русской азбукъ». А знакомый нам сейчас международный вариант азбуки Морзе на самом деле был разработан Фридрихом Гёрке в 1848 году. Он отличался тем, что оптимизировал количество тире — ведь тире занимает гораздо дольше времени, чем точка. В 1865 году система Гёрке была принята как международный стандарт.
«Условный язык»
Для экономии времени и денег текст телеграмм максимально сокращался — отсюда пошло выражение «телеграфный стиль». Для максимального сокращения использовались кодовые книги — своеобразные словари, в которых часто встречающимся выражениям и словам соответствовали специальные буквенные или числовые коды. Помимо экономии, это позволяло скрыть содержимое сообщения от любопытных глаз. Первой кодовой книгой для азбуки Морзе стал «Словарь секретной переписки, приспособленный к использованию с электромеханическим телеграфом Морзе» (1845) Фрэнсиса Смита, компаньона Морзе, лоббировавшего изобретение в Конгрессе США и финансировавшего путешествие изобретателя в Европу.
В России использование таких кодовых книг долгое время было разрешено только для государственных и военных целей. В коллекции Музея криптографии, например, есть первая кодовая книга в Российской империи — «Русский универсальный телеграфный код» (1908). Составитель, Михаил Юрьевич Поггенполь, лично обратился к министру внутренних дел П. А. Столыпину и добился отмены устаревшего закона о запрете использовать «условный язык» (код) в телеграфной переписке. В 1907 году Столыпин внёс соответствующие изменения в правила телеграфной корреспонденции.

Есть все мы, а есть Андрей Зализняк: история жизни великого русского лингвиста
Ещё один предмет в коллекции музея — «Словарь для шифрованной корреспонденции» Министерства торговли и промышленности (1916). Режим секретности военного времени требовал дополнительных мер безопасности, поэтому фразы и слова кодировались числовыми группами и могли перешифровываться при помощи аддитивов, то есть прибавления заранее условленных чисел к полученному коду. Например, фраза «Купите электролитическую медь и феррохром из Огайо за полцены согласно поручению начальника отдела промышленности» кодировалась таким образом:
12602 08947 06119 10775 06146 19231 12709 12983 22802 21104
Первые три числа каждой кодовой группы чисел соответствовали странице словаря, а последние два — номеру слова на этой странице. После кодирования сообщения отправитель прибавлял к каждому коду аддитив — заранее условленную и известную получателю последовательность чисел. Благодаря этому, даже имея данный словарь, но не зная аддитив, злоумышленник мог дешифровать только абсурдный набор слов, например «Частная железная дорога долголетняя многозначительно чеканит монету по причине болезни ъ родительный падеж…».
Азбука Морзе и ее создатель Сэмюэл Морзе

Азбука Морзе. Ее больше века использовали военные и гражданские специалисты в области связи. Изобрел ее американец Сэмюэл Финли Бриз Морзе в 1838 году. Сам изобретатель родился 27 апреля 1791 года. В первой половине своей жизни этот человек зарекомендовал себя как портретист, но это не помешало ему кардинально изменить свою деятельность уже в зрелом возрасте.

Впервые публично Морзе продемонстрировал свою систему электромагнитного телеграфа 8 февраля 1838 года в Филадельфии (Институт Франклина). Система передавала сообщения сигналами в специальной кодировке, ставшей известной во всём мире как код Морзе. Каждая буква, цифра или знак в нем состоит из комбинации тире и точек, передаваемых короткими и длинными посылами электрического тока. К XX веку в девяти европейских странах было установлено 45200 аппаратов Морзе, из них 8200 — в Российской империи.

Ключ, или «молоток», служил для смыкания и размыкания электрической цепи. На одном конце провода находился передатчик, так называемый телеграфный ключ, а на другом – электромагнитный приемник, который осуществлял управление механизмом, пишущим на бумажную ленту.
Импульсы тока определенной длительности заставляли колебаться электромагнитное перо, воспроизводившее «точки» и «тире» на бумажной ленте. Перо либо выдавливало сигналы, либо наносило их чернилами.

Данный аппарат практически в неизменном виде просуществовал с конца 30-х годов XIX столетия до середины XX века. Конечно, он модернизировался с развитием научно-технического прогресса, но основная технология не менялась.

Морзе изобрел телеграф в 1830-е годы и безуспешно пытался продать изобретение в Европе и США. Он запатентовал его в 1840 году, но только в 1843 году сумел воплотить свою идею связи в жизнь.

В 1843 году Конгресс большинством в один голос принял билль, по которому Морзе получил субсидию на создание телеграфной линии Вашингтон — Балтимор длиной 65 километров. Линию открыли в мае 1844 года. После стали открывать все новые линии, сделав телеграф распространенным средством связи. Позднее европейские государства, пользовавшиеся телеграфом, но не подтверждавшие право Морзе на это изобретение, выплатили Морзе 400 000 франков.

Практически в любом учебном заведении, специализирующемся на телеграфной или радиосвязи, изучают Азбуку Морзе. Как говорят студенты, нет необходимости запоминать обозначения букв комбинациями точек и тире. Преподаватели советуют этого не делать, а запоминать «звучания» букв и слов целиком, что позволяет быстрее освоить как саму азбуку, так и «работу на ключе».
Как же появилась идея создать специальный код для передачи информации, и с чего началась история азбуки Морзе?
Сэмюэл Морзе родился в небольшом городке Чарльзтаун на северо-востоке США, в семье священника Джедида Морзе. Высшее образование он получил в Йельском университете, который входит в восьмерку лучших вузов Америки.
В это время основным родом его занятий была живопись, и в этом искусстве он подавал большие надежды. В 1811 году Сэмюэл отправился в Европу к Вашингтону Олстону для повышения профессионального мастерства. В 1813 году его картина «Умирающий Геркулес» была отмечена золотой медалью Лондонской королевской академии художеств. Однако спустя два года молодой художник возвращается в Новый Свет.
Примеры работ Сэмюэла Морзе
На родине Морзе продолжает заниматься живописью, и в 1825 году в Нью-Йорке им была основана Национальная академии рисунка, президентом которой он и стал.
В 1829 году Морзе снова едет в Европу. На этот раз целью его поездки является изучение произведений знаменитых художников, а также получение опыта в создании школ изобразительного искусства. В это же время все ведущие ученые Европы в своих лабораториях ставили опыты, основанные на принципах электромагнетизма и электромагнитной индукции, описанных в книге Майкла Фарадея. Использование свойств магнитных полей было тогда подобно волшебству.
В 1832 году Морзе наблюдал за опытами изобретателя-электротехника Павла Шиллинга по созданию первого электромагнитного телеграфа, что сыграло немаловажную роль в истории создания азбуки Морзе. Находясь под впечатлением от увиденного, Сэмюэл Морзе увлекся идеей возможности передачи информации по проводам посредством комбинации так называемых «искр».

Возвращаясь домой на корабле, Сэмюэл сделал пару эскизных чертежей будущего устройства. На протяжении трех последующих лет Морзе безуспешно пытался создать нормально работающий аппарат передачи информации по проводам.
Лишь к 1837 году, уже будучи профессором живописи Нью-Йоркского университета, ему удалось создать аппарат, который смог послать сигнал по проводам на расстояние чуть менее 520 метров.
Опыты Морзе привлекли внимание Стива Вейла, являющегося собственником промышленных предприятий в Америке, который — в обмен на принятие в компаньоны к Морзе его сына Альфреда — согласился выделить помещения для проведения Сэмюэлом опытов, а также инвестировал в проект 2 тысячи долларов.
Спустя год после изобретения аппарата в 1838 году Морзе разработал свой всемирно известный код. Альфред Вейл также внес свой вклад, он добавил буквенные коды.

В наши дни используется международный код Морзе, который был принят в 1939 году. Он представляет собой усовершенствованную азбуку Морзе, но даже оригинальный вариантнаходился в эксплуатации еще и в 60-е годы ХХ века. Сэмюэл Морзе благодаря своему изобретению прославился, а его широкое внедрение в разные сферы принесло автору немалый доход.

✒️Подписывайтесь на наш Telegram канал «Гранит науки»
✒️Читайте нас на Яндекс Дзен
У нас есть страница на Facebook и Вконтакте
Журнал «Гранит Науки» в Тeletype
Прислать статью [email protected]
Написать редактору [email protected]




